DTCM35FH-48-M58-AL
最高支持35mm Full靶面(miàn)草老相機
申請報價
産品參數
産品圖紙
相關應用
産品參數
data
基本參數
支持CCD尺寸(Φmm)
43.6(35mm Full)
物方視場FOV(Φmm)
48
放大倍率β(x)
0.908
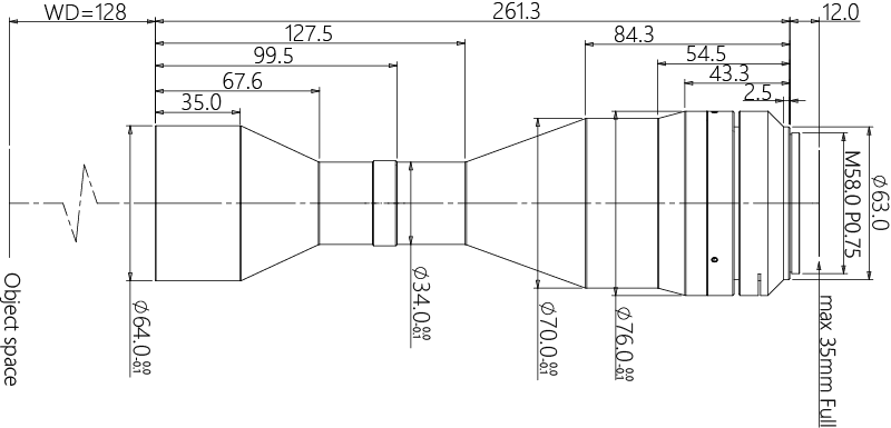
物方工作距WD(mm)
128±3
像方F/#
17.1
物方景深DOF(mm)
±1.0@F20
像方畸變(% max)
<0.1
物方遠心度(° max)
<0.1
物像距I/O(mm)
401±3
鏡頭總長(cháng)(mm)
261.3
鏡頭接口
M58
淨重(KG)
1.2
像方MTF30(lp/mm)
>50
視野範圍(mmxmm)
CMV50000 (36.43x27.62)
40.1x30.4
KAI29050/2 (36.17x24.我微11)
39.8x26.6
KAI43142 (36.18x24小那.12)
39.8x26.6
産品圖紙
drawing

結構圖