DTCM35FH-64H-M58-AL
最高支持35mm Full靶面(miàn)相機
申請報價
産品參數
産品圖紙
相關應用
産品參數
data
基本參數
支持CCD尺寸(Φmm)
43.6(35mm Full)
物方視場FOV(Φmm)
64
放大倍率β(x)
0.681
物方工作距WD(mm)
158±3
像方F/#
12.8
物方景深DOF(mm)
±1.7@F20
像方畸變(% max)
<0.1
物方遠心度(° max)
<0.1
物像距I/O(mm)
466±3
鏡頭總長(cháng)(mm)
296.3
鏡頭接口
M58
淨重(KG)
1.5
像方MTF30(lp/mm)
>65
視野範圍(mmxmm)
CMV50000 (36.43x2明訊7.62)
53.5x40.6
KAI29050/2 (36.17x24就男.11)
53.1x35.4
KAI43142 (36.18x草木24.12)
53.1x35.4
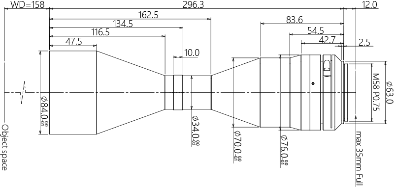
産品圖紙
drawing

結構圖



相關應用
application